堆肥腐熟度的测定方法

奥普乐农业2025-11-02 23:3513 阅读2 赞

一、化学方法测定堆肥腐熟度的注意事项

化学方法测定堆肥腐熟度的注意事项?用水浸提有机肥料,将浸提液与蒸馏水对比,进行实验,如果发芽率与对照组相比小于50%,则认为肥料未腐熟且有植物毒性,如大于50%,可认为有机肥料已腐熟,堆肥腐熟度较高的有机肥发芽率应该超过80%。在堆肥升温期和高温期,微生物活性高,需要的氧气多,在堆肥后期,留存在腐殖质内

二、堆肥腐熟度

腐熟度的检查标准主要包括以下方面:从颜色和气味判断,腐熟堆肥的秸秆变成褐色或黑褐色,具有氨臭味,铵态氮含量显著增加;秸秆的硬度,温时柔软而有弹性,干时很脆,易破碎,表明有机质失去弹性;堆肥浸出液颜色为淡黄色;堆肥体积通常比刚堆时缩小2/3-1/2;碳氮化为20-30:1,以25:1为最佳;腐...

三、怎样判定有机肥是否完全腐熟?急!

有机肥腐熟分为两种方式,一种是原始的堆沤法,一种是高温好氧堆肥。原始的堆沤法是农户根据自己的需要把粪肥堆放自然发酵的过程,这种方法适用于小规模,长时间的发酵,对环境污染比较厉害。高温好氧堆肥是通过接种VT堆肥接种剂、曝气、翻堆等方式对发酵进行系统管理,实现规模化、快速化堆肥的方法。自制有机肥 1、磷...

怎样判定有机肥是否完全腐熟?急!

四、【收藏】简单几招,教你判断有机肥是否腐熟

判断有机肥是否腐熟的方法:判断有机肥是否腐熟,可以通过以下几种简单而有效的方法:温度降低腐熟的有机肥在堆肥后期,其温度会自然降低。这是因为随着发酵过程的完成,微生物活动逐渐平稳,热量产生减少。如果堆肥的温度持续较高,可能意味着发酵过程尚未完成,有机肥还未完全腐熟。不再吸引蚊蝇未腐熟的...

【收藏】简单几招,教你判断有机肥是否腐熟

如何简单快速的辨别有机肥的质量?

化学指标即堆肥过程中堆料的化学成分或性质的变化,采用这类指标来评价有机肥的腐熟度,也是一种比较常用的简单易行的方法 1、pH值一般情况下,有机肥原料或发酵初期pH为弱酸性至中性,通常为6.5~7.5,腐熟的有机肥一般呈弱碱性,pH值在8~9左右,但pH值受有机肥原料的影响较大,只能作为评价有...

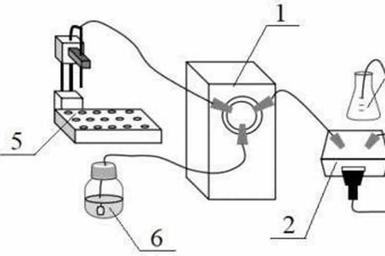
种子活力指数的计算

活力指数为幼苗的生长势与发芽指数的乘积。生长势可以用平均根重或芽重;平均幼苗的平均生长量。即:活力指数= 种苗生长量 × 发芽指数。活力指数是种子发芽速率和生长量的综合反映,是种子活力的更好指标。

有机物里面E4比E6(E4/E6)代表什么???

它表示的是堆肥过程中判断腐熟度的快速指标:测定时采用0.05mol碳酸氢钠做溶剂,在一定浓度范围(40~200mg/kg),在可见分光光度计上对比465nm(E4)和665(E6)吸光值。

高温堆肥技术要点有哪些

应进行翻堆,将边缘腐熟不好的材料与内部材料混合均匀,重新堆起。如发现材料有白色菌丝体出现,应适量加水后重新封堆。六、把握腐熟度 完全腐熟的堆肥体通常会缩小1/3-1/2,秸秆变为黑褐色至深褐色,柔软易碎。浸出液颜色为黑褐色至浅黄色,并带有氨臭味。这是判断堆肥是否腐熟的重要依据。

种子发芽指数的内容

发芽指数是种子的活力指标。在发芽试验期间,每天记载发芽粒数,然后计算发芽指数。发芽指数高,活力就高。目前种子发芽试验被认为是评价堆腐产品无害腐熟最具说服力的方法。种子发芽指数综合反映了堆肥的植物毒性,被认为是最敏感、最可靠的堆肥腐熟度评价指标。一般情况下,发芽指数大于50%可认为堆肥对种子...

热点